Home Volkswagen Repair VW Jetta, Golf, GTI: 1993-1999, Cabrio: 1995-2002
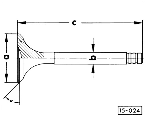
Fig. 18. Valve dimensions to be used with Table b.
Cylinder Head and Valvetrain (4-Cylinder Engines)
page 15a-16
Fig. 18. Valve dimensions to be used with Table b.

Table b. Valve Dimensions

Engine code ACC AAZ AHU ABA
Valve head
diameter (a)
intake
 
exhaust
 
38.0 mm
(1.496 in.)
33.0 mm
(1.299 in.)
36 mm
(1.417 in.)
31.00 mm
(1.220 in.)
35.95 mm
(1.415 in.)
31.45 mm
(1.238 in.)
39.5±0.15 mm
(1.555±0.006 in.)
32.9±15 mm
(1.295±006 in.)
Valve stem diameter (b)
intake
 
exhaust
 
7.97 mm
(0.3138 in.)
7.95 mm
(0.3130 in.)
7.97 mm
(0.3138 in.)
7.95 mm
(0.3130 in.)
7.97 mm
(0.3138 in.)
7.97 mm
(0.3138 in.)
6.97 mm
(0.2744 in.)
6.95 mm
(0.2736 in.)
Valve length (c)
intake
 
exhaust
 
91.9+0/-0.90 mm
(3.6181+0/-0.0354 in.)
91.2+0/-0.40 mm
(3.5906+0/-0.0157 in.)
95.0 mm
(3.740 in.)
95.0 mm
(3.740 in.)
96.85 mm
(3.813 in.)
96.85 mm
(3.813 in.)
91.85
(3.6161 in.)
91.15 mm
(3.5886 in.)
Valve face angle (α)
intake

exhaust
45°

45°
45°

45°
45°

45°
44.4°

45.15°
Valve margin (e)
N/A 0.5 mm
(0.020 in.)
(intake valves only)
N/A N/A

15a Cylinder Head and Valvetrain (4-Cylinder Engines)
page 15a-16