Home Volkswagen Repair VW GTI, Golf, Jetta: 1985-92 Manual
Table f. Valve and Valve Spring Specifications
Engine
page 27

Engine code GX, MZ HT, RD,
RV, PF
PL, 9A ME, MF, 1V
(with hydraulic cam followers)
ME, MF
(with mechanical cam followers)
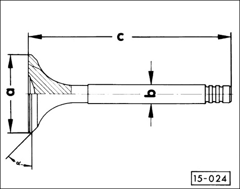
Valve head diameter (a)
intake

exhaust
 
38.00 mm
(1.496 in.)
33.00 mm
(1.299 in.)
40.00 mm
(1.575 in.)
33.00 mm
(1.299 in.)
32.00 mm
(1.259 in.)
28.00 mm
(1.102 in.)
34.00 mm
(1.339 in.)
31.00 mm
(1.220 in.)
34.00 mm
(1.339 in.)
31.00 mm
(1.220 in.)
Valve stem diameter (b)
intake

exhaust
 
7.97 mm
(.3138 in.)
7.95 mm
(.3130 in.)
7.97 mm
(.3138 in.)
7.95 mm
(.3130 in.)
6.97 mm
(.2744 in.)
6.94 mm
(.2732 in.)
7.97 mm
(.3138 in.)
7.95 mm
(.3130 in.)
7.97 mm
(.3138 in.)
7.95 mm
(.3130 in.)
Valve length (c)
intake

exhaust
 
91 mm
(3.583 in.)
90.80 mm
(3.575 in.)
91 mm
(3.583 in.)
90.80 mm
(3.575 in.)
95.50
(3.760 in.)
98.20 mm
(3.866 in.)
95.00
(3.740 in.)
95.00 mm
(3.740 in.)
104.80 mm
(4.126 in.)
104.60 mm
(4.118 in.)
Valve face angle (d)
intake

exhaust
 
45°
 
45°
 
45°
 
45°
 
45°
 
45°
 
45°
 
45°
 
45°
 
45°
 
Valve margin (e)
 
-
 
-
 
-
 
0.5 mm
(0.020 in.)
0.5 mm
(0.020 in.)
Valve spring length
inner

outer
 
-
 
-
 
-
 
-
 
-
 
-
 
32.5 mm (1.28 in.)
37.00 mm
(1.46 in.)
33.9 mm
(1.33 in.)
40.2 mm
(1.58 in.)

Table f. Valve and Valve Spring Specifications

Engine
page 27